ºîÀ®¡§ 2001/10/21 Á°±Û¡¡µ×
¥Ç¡¼¥¿Èֹ桡¡¡¡¡¡§040264
¥Õ¥£¥ë¥à¥Ð¥Ã¥¸
ÌÜŪ¡¡¡¡¡¡¡¡¡¡¡¡¡§Êü¼ÍÀþ½¾»ö¼Ô¤ÎÈï¤Ð¤¯ÀþÎÌ´ÉÍý
Êü¼ÍÀþ¤Î¼ïÊÌ¡¡¡¡¡§¥¨¥Ã¥¯¥¹Àþ,¥Ù¡¼¥¿Àþ,¥¬¥ó¥ÞÀþ,ÃæÀ»Ò
³µÍס¡¡¡¡¡¡¡¡¡¡¡¡§
¡¡¥Õ¥£¥ë¥à¥Ð¥Ã¥¸¤Ï´ÉÍý¶è°èÆâ¤ÇÊü¼ÍÀþ¼è¤ê°·¤¤¶È̳¤ò¹Ô¤¦Êü¼ÍÀþ¶È̳½¾»ö¼Ô¤ÎÈï¤Ð¤¯ÀþÎ̤òϢ³¥â¥Ë¥¿¡¼¤·µÏ¿¤¹¤ë¤¿¤á¤ËÍѤ¤¤é¤ì¤ë¡£
¾ÜºÙÀâÌÀ¡¡¡¡¡¡¡¡¡§
¡¡
¡¡´ÉÍý¶è°èÆâ¤ÇÊü¼ÍÀþ¼è¤ê°·¤¤¶È̳¤ò¹Ô¤¦Êü¼ÍÀþ¶È̳½¾»ö¼Ô¤Ï¡¢Ë¡Îá¤Ë¤è¤ê°ìÄê´ü´ÖÆâ¤ËÈï¤Ð¤¯¤¹¤ë¼Â¸úÀþÎ̸ÂÅÙ¤¬Äê¤á¤é¤ì¤Æ¤¤¤ë¡£¥Õ¥£¥ë¥à¥Ð¥Ã¥¸¤Ïºî¶ÈÃæ¤ËÈï¤Ð¤¯¤¹¤ëÊü¼ÍÀþ¤òϢ³¥â¥Ë¥¿¡¼¤·µÏ¿¤Ç¤¤ë¬Äê´ï¤Ç¤¢¤ë¡£½¾¤Ã¤Æ¡¢¤³¤Î¬ÄêÃͤò´Æ»ë¤·¤Æ¤¤¤ì¤Ð¡¢¾åµ¤ÎÀþÎ̸ÂÅÙ¤ÎȽÄê¤ËÌòΩ¤Ä¡£Êü¼ÍÀþ¶È̳½¾»ö¼Ô¤ÎÈï¤Ð¤¯ÀþÎ̤ˤÏÂÎÆâÈï¤Ð¤¯¤Ë¤è¤ë¤â¤Î¤È¡¢Âγ°Èï¤Ð¤¯¤Ë¤è¤ë¤â¤Î¤¬¤¢¤ë¡£Êü¼ÍÀþ¶È̳½¾»ö¤ÎÈï¤Ð¤¯¤ò¿¦¶ÈÈï¤Ð¤¯¤È¤¤¤¤¡¢°åÎÅÈï¤Ð¤¯¡¢¸ø½°Èï¤Ð¤¯¤È¶èÊ̤·¤Æ¤¤¤ë¡£
¡¡
¡¡¥Õ¥£¥ë¥à¥Ð¥Ã¥¸¤ÏÂγ°Èï¤Ð¤¯¤ò¬Äꤹ¤ë¬Äê´ï¤Ç¤¢¤ë¡£¼×¸÷»æ¤ÇÊñÁõ¤µ¤ì¤¿¥Õ¥£¥ë¥à¡Ê¥Ð¥Ã¥¸¥Õ¥£¥ë¥à¡Ë¤ò¥Ð¥Ã¥¸¥±¡¼¥¹¤ËÁõŶ¤·¤¿¤â¤Î¤ò¡¢Êü¼ÍÀþ¶È̳½¾»ö¼Ô¤Î¶»(¼ç¤È¤·¤ÆÃË»Ò)Ëô¤ÏÊ¢Éô(¼ç¤È¤·¤Æ½÷»Ò)¤Ê¤É¤Ë¥Õ¥£¥ë¥à¥Ð¥Ã¥¸¤È¤·¤ÆÁõÃ夷¤Æ»ÈÍѤ¹¤ë¡£ÃåÍÑ´ü´Ö¤Ï¡¢1½µ´Ö¤¢¤ë¤¤¤Ï1¥ö·î´Ö¤È¤¤¤¦¤è¤¦¤Ë»ö¶È½ê¤Ë¤è¤Ã¤Æ¿ï»þÁªÂò¤¹¤ë¡£¼ÂºÝ¤Î»ÈÍѤˤª¤¤¤Æ¤ÏÄê´üŪ¤Ë¥Ð¥Ã¥¸¥Õ¥£¥ë¥à¤ò¸ò´¹¤·¤Æ¡¢Â¬Äꥵ¡¼¥Ó¥¹µ¡´Ø¤ËÁ÷¤êÊÖ¤·¤ÆÂ¬Äê·ë²Ì¤ÎÊó¹ð¤ò¼õ¤±¤ë¡£¥Ð¥Ã¥¸¥Õ¥£¥ë¥à¤Ï¸½Áü½èÍý¸å¡¢¥Õ¥£¥ë¥à¤Î¹õ²½ÅÙ¤«¤éÀþÎÌ¡¢¼Â¸ú¥¨¥Í¥ë¥®¡¼¤òÆÉ¤ß¤È¤êÈï¤Ð¤¯ÀþÎ̤ò»»½Ð¤¹¤ë¡£¼ï¡¹¤Î¥Õ¥£¥ë¥¿¡¼¤òÆâ¢¤·¤¿¥Ð¥Ã¥¸¥±¡¼¥¹¤ÎÁªÂò¤Ë¤è¤êXÀþ¡¢¦ÃÀþ¡¢¦ÂÀþ¡¢ÃæÀ»ÒÀþ¤¬Â¬Äê¤Ç¤¤ë¡£
¡¡
¡Ò¥Õ¥£¥ë¥à¥Ð¥Ã¥¸¤Î¹½Â¤¡Ó
¡¡
¡¡
(1) ¥Ð¥Ã¥¸¥Õ¥£¥ë¥à(X¡¦¦ÃÀþÍÑ¥Õ¥£¥ë¥à)
¡¡
¡¡Â¬Äꤹ¤ëÀþÎÌÈϰϤò³ÈÂ礵¤»¤ë¤¿¤á¡¢¼×¸÷Íѥѥ寤ÎÃæ¤Ë¡¢´¶Å٤ΰۤʤë¥Õ¥£¥ë¥à¤¬2¤Ê¤¤¤·3ËçÆþ¤Ã¤Æ¤¤¤ë¡£¤Ç¤¢¤ë¡£¤¹¤Ê¤ï¤Á¡¢´¶Å٤ΰۤʤëA(1.0)¡¢B(¡Á1/6)¡¢C(¡Á1/60)¡¢(( )Æâ¤Î¿ôÃͤÏÁêÂд¶ÅÙ¤ò¼¨¤¹)¤Î3¤Ä¤Î¥¿¥¤¥×¤Î¥Õ¥£¥ë¥à¤¬Æþ¤Ã¤Æ¤¤¤ë¤â¤Î¤ò¹ÈϰÏÍѥХ帥ե£¥ë¥à(ÆüËܹ©¶Èµ¬³Ê¡§JIS K7559)¤È¤¤¤¤¡¢B¡¢C¤Î2¤Ä¤Î¥¿¥¤¥×¤¬Æþ¤Ã¤Æ¤¤¤ë¤â¤Î¤òXÀþÍѥХ帥ե£¥ë¥à(JIS K7557)¤È¤¤¤¦¡£ÆýºÞ¤Ï¡¢AgBr(ʬ»ÒÎÌ187.7¡¢Ã¸²«¿§¡¢¿©±ö·Á·ë¾½¡¢Èæ½Å6.417)¤òÎɼÁ¤Î¥¼¥é¥Á¥ó¤Ë·üÂù¤µ¤»¤¿¤â¤Î¤Ç¡¢·ë¾½Î³»Ò¤ÎÂ礤µ¤Ï0.1¡Á¿ô¦Ìm¡¢ÆýºÞÁؤθü¤µ¤Ï5¡Á15¦Ìm¤Ç¤¢¤ë¡£Î³»Ò¤ÎÂ礤¤¤â¤Î¤Û¤É´¶Å٤Ϲ⤤¡£AµÚ¤ÓB¥Õ¥£¥ë¥à¤Ï¡¢ÆýºÞ¤¬¥Õ¥£¥ë¥à»Ù»ýÂΤÎξÌ̤ËÅÉÉÛ¤µ¤ì¤Æ¤ª¤ê¡¢C¥Õ¥£¥ë¥à¤ÏÊÒÌ̤ËÅÉÉÛ¤µ¤ì¤Æ¤¤¤ë¡£
¡¡
(2)¥Ð¥Ã¥¸¥Õ¥£¥ë¥à(Â®ÃæÀ»ÒÍÑ¥Õ¥£¥ë¥à)
¡¡
¡¡NTA¥Õ¥£¥ë¥à(Neutron film Type A)ÊÆ¹ñ¥³¥À¥Ã¥¯¼ÒÀ½¥¢¥ë¥ßÇóÊ£¹çºà¤ÇËɼ¾ÊñÁõ¤·¡¢»ÀÁǤò½üµî¤¹¤ë¤¿¤á¤Ë¡¢ÉÔ³èÀ¥¬¥¹¤òÉõÆþ¤·¤Æ¤¤¤ë¡£¥Õ¥£¥ë¥àÆýºÞ¤Ï¸¶»Ò³Ë¼Ì¿¿ÆýºÞ¤Ç¡¢ºÙ¤«¤¤AgBrγ»Ò(0.3¦Ìm)¤ò´Þ¤ß¡¢ÆýºÞÁؤθü¤µ¤ÏÌó30¦Ìm¤Ç¤¢¤ë¡£NTA¥Õ¥£¥ë¥à¤Ï¥Ð¥Ã¥¸¥±¡¼¥¹¤ÎÃæ¤Ø¦ÃÀþÍÑ¥Õ¥£¥ë¥à¤È½Å¤Í¤ÆÁÞÆþ¤Ç¤¤ë¤È¤¤¤¦ÍøÅÀ¤¬¤¢¤ë¡£¸½Áü½èÍý¤Ë¤è¤êÆýºÞÃæ¤ÇÃæÀ»Ò¤Ë¤è¤êȯÀ¸¤·¤¿È¿Ä·ÍۻҤˤè¤ëÈôÀפ¬´Ñ¬¤µ¤ì¤ë¤Î¤Ç¡¢¤³¤ì¤ò¸÷³Ø¸²Èù¶À²¼¤Ç¥«¥¦¥ó¥È¤¹¤ì¤ÐÃæÀ»Ò¥Õ¥ë¥¨¥ó¥¹¤Ë´¹»»¤Ç¤¤ë¡£¼ÂºÝ¾å¤Ï¡¢0.4¡Á0.5MeV°Ê¾å¤ÎÃæÀ»Ò¤¬Â¬ÄêÂоݤˤʤ롣Cd¥Õ¥£¥ë¥¿¡¼¤Ë¤è¤ëÊá³Í¦ÃÀþ¤òÍøÍѤ·¤¿¡¢Ç®ÃæÀ»ÒÀþ¬ÄêÍÑ¥Õ¥£¥ë¥à¥Ð¥Ã¥¸¤â¤¢¤ë¡£
¡¡
(3)¥Ð¥Ã¥¸¥±¡¼¥¹
¡¡
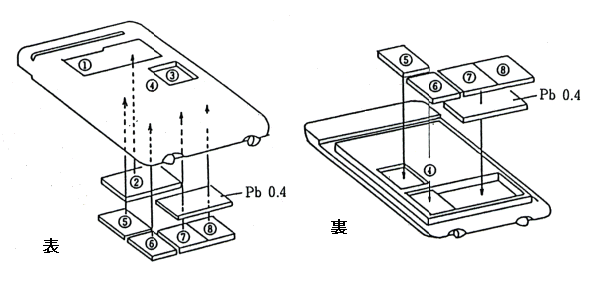
¡¡ÆýºÞÃæ¤ÎAgBr¤Ï¹â¥¨¥Í¥ë¥®¡¼¤¢¤ë¤¤¤ÏÄ㥨¥Í¥ë¥®¡¼XÀþ¡¢¦ÃÀþ¤ËÂФ·¤ÆµÛ¼ýΨ¤¬°Û¤Ê¤ë¤¿¤á¡¢Æ±¤¸ÀþÎ̤¬¾È¼Í¤µ¤ì¤Æ¤â¡¢¸½Áü¸å¤Î¥Õ¥£¥ë¥à¤Î¹õ²½ÅÙ¤¬Æ±°ì¤Ë¤Ê¤é¤Ê¤¤¡£¤³¤ÎÅÀ¤ò²ò·è¤¹¤ë¬Äêµ»½Ñ¤ò¡¢¥Ð¥Ã¥¸¥±¡¼¥¹¤ÏÈ÷¤¨¤Æ¤¤¤Ê¤±¤ì¤Ð¤Ê¤é¤Ê¤¤¡£¥Ð¥Ã¥¸¥±¡¼¥¹¤Ï¿Þ1¡¢É½1¤Ë¼¨¤¹¤è¤¦¤Êºà¼Á¡¢¸ü¤µ¤Î°Û¤Ê¤ë¼ï¡¹¤Î¥Õ¥£¥ë¥¿¡¼¤¬ÁȤ߹þ¤Þ¤ì¤¿É½Î¢°ìÂΤȤʤäƤª¤ê¡¢¼×¸÷»æ¤Ç¥Ñ¥Ã¥¯¤µ¤ì¤¿¥Õ¥£¥ë¥à¤ò«¤é¥µ¥ó¥É¥¤¥Ã¥Á¾õ¤Ë¤Ï¤µ¤ó¤Ç¤¤¤ë¡£¥Ð¥Ã¥¸¥±¡¼¥¹¤è¤êÆþ¼Í¤¹¤ëÊü¼ÍÀþ¤Ï¥Õ¥£¥ë¥¿¡¼¤ÈÁê¸ßºîÍѤòµ¯¤³¤·¡¢Êü¼ÍÀþ¤Î¼ïÎà¡¢¥¨¥Í¥ë¥®¡¼¡¢ÀþÎ̤òÊѲ½¤µ¤»¤ë¤³¤È¤Ë¤Ê¤ë¡£²¿¼ïÎफ¤Î¥Õ¥£¥ë¥¿¡¼¸å¤Î¼Ì¿¿Ç»Å٤ΰ㤤¤òÍøÍѤ·¤Æ¡¢Æþ¼Í¤¹¤ëÊü¼ÍÀþ¤Î¼ïÎà¤È¥¨¥Í¥ë¥®¡¼¤òȽÄꤷ¡¢ÀþÎ̤ò»»½Ð¤Ç¤¤ë¡£¤³¤ì¤Ï¼¡¤ÎÀþÎÌÅöÎÌ(ñ°Ì¡§¥·¡¼¥Ù¥ë¥È(Sv))»»½Ð¤Ë¤âɬÍ×ÉԲķç¤Î¥Ç¡¼¥¿¤È¤Ê¤ë¡£¿Þ2¤Ï¡¢Ê̲ñ¼Ò¤Î¥Õ¥£¥ë¥à¥Ð¥Ã¥¸¤Î¹½Â¤¤ò¼¨¤¹¡£

¿Þ1¡¡ÀéÂåÅÄÊݰÂÍÑÉÊKK(¸½¡¢ÀéÂåÅĥƥ¯¥Î¥ë¼Ò)À½¥Õ¥£¥ë¥à¥Ð¥Ã¥¸¤Î¹½Â¤¡Ê»²¹Í»ñÎÁ1¤è¤ê°úÍÑ¡£¡¡¡Ë
ɽ1¡¡¹ÈϰÏÍѥХ帥±¡¼¥¹µ·¿¤Î¥Õ¥£¥ë¥¿¹½À®(¿Þ1¤ËÂбþ)¡Ê»²¹Í»ñÎÁ1¤è¤ê°úÍÑ¡£¡¡¡Ë
------------------------------------------------------------------
µ¡¡¡¡¡¡¡¡¡¡¡¡¡¡¡¡¡¡¡¡ ¡¡ ÍÑÅÓ * *
°ÌÃÖ Ì¾¾Î ºàÎÁ¤È¸ü¤µ(mm)
¹æ P B T
------------------------------------------------------------------
1 ¥ª¡¼¥×¥ó¥¦¥¤¥ó¥É¥¦ OW no filter ¡û
------------------------------------------------------------------
2 ¥×¥é¥¹¥Æ¥£¥Ã¥¯1 P1 P1 0.5 ¡û
------------------------------------------------------------------
3 ¥×¥é¥¹¥Æ¥£¥Ã¥¯2 P2 P1 1.5 ¡¡ ¡¡ ¡û ¡û
------------------------------------------------------------------
4 ¥×¥é¥¹¥Æ¥£¥Ã¥¯3 P3 P1 3.0 ¡û
------------------------------------------------------------------
5 ¥¢¥ë¥ß¥Ë¥¦¥à AI AI 0.6¡ÜP1 2.4 ¡¡ ¡û¡¡
------------------------------------------------------------------
6 Ƽ Cu Cu 0.3¡ÜP1 2.7 ¡¡ ¡¡ ¡û
------------------------------------------------------------------
7 ¥¹¥º Sn Sn0.8¡ÜPd0.4¡ÜP1 1.8 ¡û¡¡ ¡¡¡û
------------------------------------------------------------------
8 ¥«¥É¥ß¥¦¥à Cd Cd0.8¡ÜPb0.4¡ÜP1 1.8 ¡¡ ¡¡ ¡û
------------------------------------------------------------------
* P1¤Ïplastic¤ò°ÕÌ£¤·¤Þ¤¹¡£
** ¥Õ¥£¥ë¥¿¤Î¬ÄêÍÑÅÓ¤ò¼¨¤¹¡£
P¤Ï¸÷»ÒÍÑ¡¢B¤Ï¦ÂÀþÍÑ¡¢T¤ÏÇ®ÃæÀ»ÒÍÑ

¿Þ2¡¡ ĹÀ¥¥é¥ó¥À¥¦¥¢¼ÒÀ½¥Õ¥£¥ë¥à¥Ð¥Ã¥¸¤Î¹½Â¤¡Ê¸¶ÏÀʸ1¤è¤ê°úÍÑ¡£¡¡ ¡Ë
(4)ÀþÎÌÅöÎ̤λ»½Ð
¡¡
¡¡JIS Z 4301-1997 ¤Ë¥Õ¥£¥ë¥à¥Ð¥Ã¥¸¤Î¬ÄêÃͤ«¤éÀþÎÌÅöÎ̤ؤλ»½ÐÊýË¡¤Ë¤Ï¡¢ÀþÎÌÆÃÀ¡¢¥¨¥Í¥ë¥®¡¼ÆÃÀ¡¢ÀøÁüÂà¹ÔÆÃÀ¡¢Êý¸þÆÃÀ¡¢ÀþÎÌÅöÎÌ»»½Ð¼°¤òÍѤ¤¤Æ¤¤¤ë¡£
¡¡
(5)¥Õ¥£¥ë¥à¥Ð¥Ã¥¸¤Î¥¨¥Í¥ë¥®¡¼Å¬ÍÑÈϰϡ§ÆüËܹ©¶Èµ¬³Ê(JIS)¤Îµ¬Äê¤ò°Ê²¼¤Ëµ¤¹¡£
¡¡
XÀþÍÑ¥Õ¥£¥ë¥à¥Ð¥Ã¥¸(Z 4301-1997)¡§¼Â¸ú¥¨¥Í¥ë¥®¡¼ 20¡Á80 keV¤ÎXÀþ¤È¡¢¥¨¥Í¥ë¥®¡¼20¡Á80 keV¤Î¦ÃÀþ
¡¡
¦ÃÀþµÚ¤Ó¹ÅXÀþÍÑ¥Õ¥£¥ë¥à¥Ð¥Ã¥¸(Z 4302-1997)¡§¼Â¸ú¥¨¥Í¥ë¥®¡¼ 0.3¡Á3MeV¤ÎXÀþ¤È¡¢¥¨¥Í¥ë¥®¡¼ 0.3¡Á3MeV¤Î¦ÃÀþ
¡¡
¹ÈϰÏÍÑ¥Õ¥£¥ë¥à¥Ð¥Ã¥¸(Z 4323-1997)¡§¼Â¸ú¥¨¥Í¥ë¥®¡¼20keV¡Á3MeV¤ÎXÀþ¤È¡¢¥¨¥Í¥ë¥®¡¼20keV¡Á3MeV¤Î¦ÃÀþµÚ¤ÓÇ®ÃæÀ»Ò¡¢»ÄαºÇÂ票¥Í¥ë¥®¡¼ 0.5¡Á3MeV¤Î¦ÂÀþ
¡¡
²°Æâ´Ä¶ÍÑ¥Õ¥£¥ë¥à¥Ð¥Ã¥¸(Z4335-1993)¡§¼Â¸ú¥¨¥Í¥ë¥®¡¼ 20keV¡Á3MeV¤ÎXÀþ¤È, ¥¨¥Í¥ë¥®¡¼ 20keV¡Á3MeV¤Î¦ÃÀþµÚ¤ÓÇ®ÃæÀ»Ò
¡¡
¹âÂ®ÃæÀ»ÒÍÑ¥Õ¥£¥ë¥à¥Ð¥Ã¥¸(Z 4510-1997)¡§¥¨¥Í¥ë¥®¡¼0.5¡Á15MeV¤Î¹âÂ®ÃæÀ»Ò
¥³¥á¥ó¥È¡¡¡¡¡¡¡¡¡§
¡¡
¡¡ºÇ¶á¤Ç¤Ï¶ä»ñ¸»¤Î¸Ï³é¤È¸½Áü½èÍý±Õ¤ÎÇѱդˤè¤ë´Ä¶±øÀ÷¤òËɻߤ¹¤ë´ÑÅÀ¤«¤é¥Õ¥£¥ë¥à¥Ð¥Ã¥¸¤Ï1999ǯ¤ò¶¤ËÁ´¹ñŪ¤Ë»ÈÍѤµ¤ì¤Ê¤¯¤Ê¤Ã¤Æ¤¤¤ë¡£¸½ºß¤Ï¥Õ¥£¥ë¥à¥Ð¥Ã¥¸¤ËÂå¤ï¤Ã¤Æ¥¬¥é¥¹ÀþÎÌ·×Ëô¤ÏOSLÀþÎÌ·×(Optically Stimulation Luminescence)¤¬¸Ä¿Í¥â¥Ë¥¿¥ê¥ó¥°ÀþÎ̷פȤ·¤Æ»ÈÍѤµ¤ì¤ë¤è¤¦¤Ë¤Ê¤Ã¤¿¡£
¸¶ÏÀʸ£± Data source 1¡§
ÆüËܤˤª¤±¤ëºÇ¶á¤Î¸Ä¿ÍÀþÎ̷פδĶ¤Ë¤Ä¤¤¤Æ
¾®ÎÓ°éÉ×
ÆüËܼ̿¿³Ø²ñ»ï¡¢64´¬¡¢2¹æ¡¢126-132,2001.
»²¹Í»ñÎÁ£± Reference 1¡§
Æ£ÅÄ¡¡Ì
¸Ä¿ÍÀþÎ̷ס¡µ»½ÑÀâÌÀ½ñ(ÀéÂåÅÄÊݰÂÍÑÉÊKK¬Äꥻ¥ó¥¿¡¼)1993
¥¡¼¥ï¡¼¥É¡§¼Â¸úÀþÎ̸ÂÅÙ¡¢Êü¼ÍÀþ¶È̳½¾»ö¼Ô¡¢Â®ÃæÀ»Ò¡¢Ç®ÃæÀ»Ò¡¢ÀþÎÌÅöÎÌ¡¢¹ÅXÀþ¡¢¿¦¶ÈÈï¤Ð¤¯¡¢´ÉÍý¶è°è
effective dose limits, radiation workers, fast neutron, thermal neutron, dose equivalent, hard X rays (high energy X rays), occupational expose, controlled area
ʬÎॳ¡¼¥É¡§040107, 040207, 040302